Hotmail账号一直被人尝试从境外登陆是什么情况


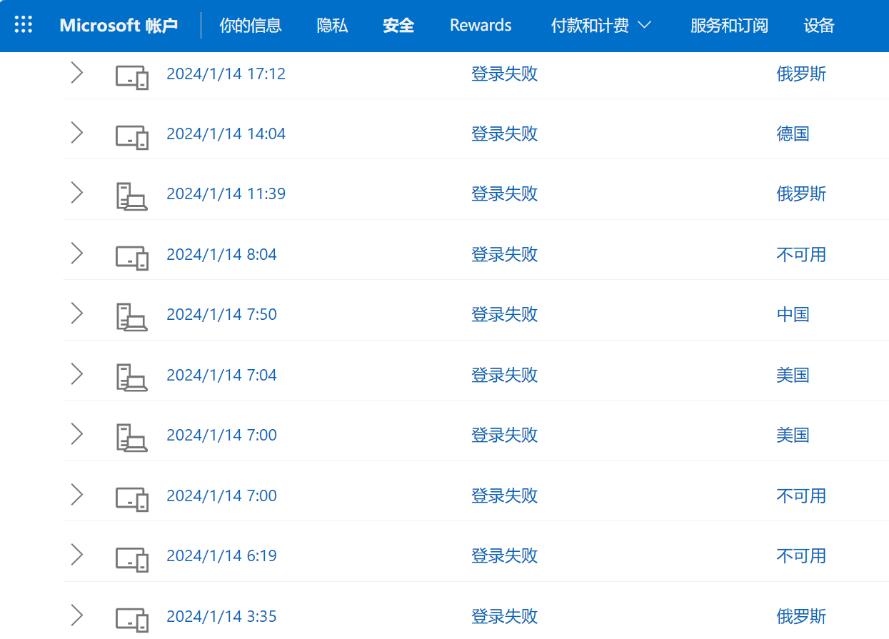
如图所示,这种情况已经持续好几年了,每天都会有各种不同的IP尝试登陆我的账号,大概一天会有15次左右的登陆尝试。
我已经开启了无密码登陆和两步验证,所以这些登陆应该是都不会成功的,但是每天都不停地尝试也好恐怖啊

补充:由于这个账号出现这种情况已经好几年了,安全起见我在去年注册了一个新的账号,把重要的资料都转移到了上面,并且这个新账号只用于工作上的交流,没有作为任何网站、服务或者游戏的绑定邮箱。但是我刚刚查看了一下新账号的登陆活动,居然也开始被人尝试登陆了,只不过不像最开始这个账号这么频繁,可能一周才会有几次登陆尝试

补充2:又发现一个问题,我的两个邮箱均有hotmail.com和outlook.com两个域名,但是两个邮箱所有的异常登陆尝试都是使用hotmail域名,我一直使用的都是outlook域名,从来没有在网上留过hotmail

都是这样的

没啥大不了的。

开二次验证或者无密码。

设置别名,然后把别名设为主要别名,然后把禁用hotmail的登录首选项。
有兴趣outlook还可以选一下国别后缀的,可以选一些短的前缀

添加别名:https://account.live.com/AddAssocId
禁用登录首选项:https://account.live.com/names/manage
改地区:https://account.live.com/editprof.aspx

2 Likes

受到攻击很正常,不是都尝试失败了吗,没必要紧张。
首先它密码就不正确了,后续的攻击无从谈起。

可以去mozilla上面的泄露数据库看看有没有自己的邮箱,我原来有一个邮箱在上面,吓得我急忙换了一个 https://monitor.mozilla.org/ 虽然上面的相对于全部泄露的数据肯定九牛一毛,但查个心安又不亏

三个邮箱,两个都泄露了。 :cold_face: